Авторлар
Әдебиет

2 Технологиялық пештер


2.7 Типтік құбырлы пештер

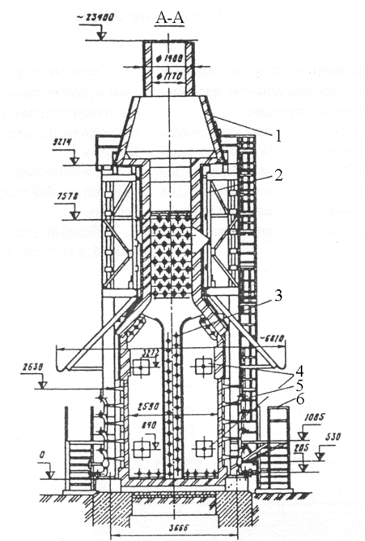
а) Түтін газдарын жоғарғы бұратын тар камералы құбырлы пештер, радиация және конвекция камераларындағы көлденең құбырлар.

Бір қатарлы қабырға экрандары және түтін газдарын жоғарғы бұруы бар еркін тік алауы, радиация және конвекция камераларындағы көлденең құбырлары бар тар камералы құбырлы пеш

Қыздырғыштар пештің түбінде бір қатарда орналасқан.

Қыздырғыштардың жылу өнімділігі өзгерген кезде, құбыр экранына шығарылған жылу ағындары диаграммасының сипаты іс жүзінде өзгермейді.

Оттықтарға қызмет көрсету пештің бір жағынан жүргізіледі, соның арқасында жалпы іргетаста баспалдақ алаңымен қосылған екі бір камералы пешті қатар орнатуға және осылайша екі камералы пешті құруға болады.

Пештердің жеті типтік өлшемі жеңіл ыстыққа төзімді бетоннан жасалған үлкен блокты төсенішпен қамтамасыз етілген.

Пештің жалпы көрінісі және іргетас болттарының орналасу жоспары 2.42-суретте көрсетілген.

Бір қатарлы қабырға экрандары және түтін газдарын жоғарғы бұратын көлемді-төсемді алауы және көлденең қабырғалы құбыр экрандары бар екі камералы пеш, қорапты, екі радиантты камераларда ирек түтіктердің көлденең орналасуы, аралас отынды көлемді-төсемді жағу.

 

 

1 – баспалдақ; 2 – катушка; 3 – жақтау; 4 – футерлеу; 5 – қыздырғыш

 

2.42-сурет – Бір қатарлы қабырға экрандары және еркін тік алауы бар құбырлы бір камералы пеш

 

Қыздырғыштар әр алдыңғы қабырғада 45º бұрышта бір қатарға орналастырылған. Пештің ортасында пешті екі бірдей камераға бөлетін қабырға орнатылған, оған аралас отынның көлбеу алаулары төселеді.

Қыздырғыштардың жылу өнімділігі өзгерген кезде, құбыр экранына шығарылған жылу ағындары диаграммасының сипаты іс жүзінде өзгермейді.

Пештің оттықтарына қызмет көрсету-екі жағынан.

Пештің жалпы көрінісі 2.43-суретте көрсетілген.

Түтін газдарын (а2б2 типті) жоғарғы бұруы бар орталық екі қатарлы құбыр экраны бар жалынсыз панельді жанарғылардан шығатын қабырғалары бар екі камералы пеш.

Қыздырғыштар радиация камерасының алдыңғы қабырғаларында әр қабырғада бес қатардан тұрады, олар екі қарама-қарсы сәуле шығарады. Сәулелі қабырғалар арасында екі жақты сәулеленудің құбырлы экраны орнатылған. Құбыр экраны екі қатарлы, бір қатарлы, бір қатарлы және ауыспалы қадаммен екі қатарлы болуы мүмкін.

Жылу өнімділігін тәуелсіз реттеуді қамтамасыз ету үшін әр қатардың қыздырғыштары үшін өзінің газ коллекторы, сондықтан радиантты катушканың тиісті бөлігіне жылу беру қарастырылған.

Екі орындаушылығы бар (аспалы шамот кірпіштен қалау және жеңіл ыстыққа төзімді бетоннан футерлеу арқылы) радиация камерасы құбырларының ұзындығына байланысты пештер бес өлшемде дайындалады.

 

 

1 – баспалдақ; 2 – катушка; 3 – жақтау; 4 – футерлеу; 5 – еден қабырғасы; 6 – қыздырғыш

 

2.43-сурет – Бір қатарлы қабырға экрандары және көлемді-төсемді алауы бар құбырлы екі камералы пеш

 

Осы типтегі пештер таза күкіртсіздендірілген газды жалынсыз жағуды қарастырады, сондықтан атмосфераға зиянды шығарындылар жоқ, бұл ең жоғары 25 м белгісі бар түтін құбырларын орнатуға мүмкіндік береді.

Пештің жалпы көрінісі, оның кесілуі және іргетас болттарының орналасу жоспары 2.44, 2.45 суреттерінде келтірілген.

 

 

2.44-сурет – Орталық екі қатарлы құбыр экраны бар жалынсыз панельді қыздырғыштардың сәулелі қабырғалары бар құбырлы екі камералы пеш.

 

Түтін газдарын (а2в2 типті) жоғарғы бұрумен орталық екі қатарлы құбыр экраны бар газ отынын төсейтін желдеткіш жағатын екі камералы пеш.

A2 b2 және a2 b2 пештерінің дизайны ұқсас және тек сәулелі қабырғалармен ерекшеленеді. А2 В2 типті пештерде жалынсыз қыздырғыштардан шығатын қабырға радиация камерасының алдыңғы қабырғаларында екі қабатта орналасқан және екі қарама-қарсы сәуле шығаратын блокты құрайтын желдеткіш қыздырғыштармен ауыстырылады.

 

 

1 – футеровка; 2 – каркас; 3 – ирек; 4 – сору және қарау терезелері; 5 – жалынсыз газ жанарғысы; 6-баспалдақ алаңы

 

2.45-сурет – Орталық екі қатарлы құбыр экраны бар жалынсыз панельді қыздырғыштардан (a-a бөлімі) сәуле шығаратын қабырғалары бар құбырлы екі камералы пеш

 

Құбыр экраны екі қатарлы, бір қатарлы және ауыспалы қадаммен екі қатарлы болуы мүмкін. Қыздырғыштардың екі қатарының жылу өнімділігін өзгерту арқылы сіз жылу ағындарының диаграммасын құбыр катушкасына өзгерте аласыз.

Айырықша ерекшелігі-олар ауыспалы құрамдағы отын газында жұмыс істей алады.

Пештің жалпы көрінісі 2.46 суретте көрсетілген.

 

 

2.46-сурет – А2В2 типті құбырлы пеш

 

б) Еркін тік алауы бар секциялық қорапты құбырлы пештер.

Пеш-тар камералы қорап тәрізді, ирек түтіктердің тік орналасуы бар, аралас отынды тігінен жағатын.

ГГМ және ГП типті аралас қыздырғыштар пештің астына орнатылады. Радиалды катушканың тік құбырлары радиация камерасының барлық төрт жағында орналасқан. Радиациялық камералардың қабырғаларында бір қатарлы қабырға экрандары, ал радиациялық камералардың арасында екі қатарлы екі жақты жарықтандыру экрандары орналасқан.

Бұл пештердің төрт өлшемі қарастырылған, әр өлшем бірдей радиациялық камералардың басқа санынан ерекшеленеді. Әр радиация камерасының үстінде көлденең тегіс құбырлары бар өзіндік конвекция камерасы бар. Бұл пештерде сұйық отынмен жұмыс істеген кезде жонылған құбырларды қолдануға жол берілмейді.

Конвекцияның әр камерасында өзіндік газ жинағыш және реттеуші шибер бар.

Оттықтарға қызмет көрсету-екі жағынан.

Пештің футерованы легковесным жаропрочным бетонмен.

Пештің жалпы көрінісі және іргетас болттарының орналасу жоспары 2.47-суретте көрсетілген.

 

 

1 – катушкалар; 2, 6 – шығатын және қарайтын терезелер; 3 – футерлеу; 4 – жақтау; 5 – қыздырғыш

 

2.47-сурет – ВК үлгісіндегі құбырлы пеш

 

Тік бұрышты және көлденең бұралған катушкасы бар секциялық пеш, жеке конвективті камера және кіріктірілген ауа жылытқышы бар, тігінен от жағатын отын.

Әр секцияның құбырлы катушкасы екі немесе үш зауыттық тасымалданатын пакеттерден тұрады. Змеевик әрбір секция – самонесущий белгіленген тікелей поду пеш.

Пештің қабырғалары жеңіл жақтаулардан жиналады. ГДК типті жанарғылар пештің табанында әр секцияда төрт жанарғыдан бір қатарда орналасқан.

Пеш радиантты және конвективті катушкалармен жабдықталған. Радиациялық камераның бір-төрт бөлімі болуы мүмкін.

Пештің жалпы көрінісі 2.48 суретте көрсетілген.

 

 

1 – желдеткіш; 2 – конвекция камерасы; 3 – баспалдақ; 4 – газ жолы; 5 және 6 ¬ – шығатын және қарайтын терезелер; 7 – радиантты катушка; 8 – құбыр торы; 9 – жақтау; 10 – түтін құбыры; 11 – ауа жылытқышы; 12 – түтін сорғысы

 

2.48-сурет – Тік бұрышты және көлденең бұралған катушкасы бар секциялы пеш, жеке конвективті камера және кіріктірілген ауа жылытқышы, отынды тігінен жағу

 

в) Жоғарғы конвекция камерасы бар цилиндрлік құбырлы пештер, экранның тік құбырлары және көлденең конвекция құбырлары, аралас отынды тігінен алау арқылы еркін жағу.

Аралас қыздырғыштар пештің түбінде орналасқан. Радиация камерасының қабырғаларында бір қатарлы немесе екі қатарлы қабырға құбыр экрандары орнатылған.

Жану газдарын шығару-пешке және газ жинағышқа орнатылған түтін құбыры арқылы.

Бұл пештердің екі орындалуы қарастырылған: радиациялық (конвекция камерасынсыз) және радиациялық-конвективті (конвекция камерасымен).

Оттықтағы орталық призмасы бар төрт камералы цилиндрлік пеш, алаудың биіктігі бойынша ауаны дифференциалды жеткізу, бір қатарлы қабырға және екі қатарлы секциялық экрандар, радиацияның төрт камерасында экрандар құбырларының тік орналасуы, аралас отынды төсеу.

Аралас қыздырғыштар пештің түбінде орналасқан. Олардың осьтері пештің ортасына орнатылған рефлектор-дистрибьюторға қарай қисайған. Рефлектор әр радиация камерасының қыздырғыштары үшін еден қабырғалары болып табылатын вогнуты бар пирамида түрінде жасалған. Ішінде рефлектор жеке каналдарға бөлінеді, олардың саны бет санынан екі есе көп. Әрбір түтік қызмет көрсету алаңынан басқарылатын айналмалы шибермен жабдықталған.

Рефлектордың қырларын қалау кезінде екі қабатта беттердің биіктігі бойынша ауа өткізгіштерден екінші реттік ауаны әрбір беттің төсем алауына жеткізу үшін тікбұрышты қиманың каналдары орналасқан. Арналар арқылы ауа ағынын өзгерту арқылы сіз еден шамындағы отынның жану дәрежесін реттей аласыз, бұл жылу кернеуін радиация камерасындағы құбырлардың биіктігіне теңестіруге мүмкіндік береді.

Радиация камерасының қабырғаларында бір қатарлы қабырға экрандары, ал радиация камераларының арасында екі қатарлы радиалды экрандар бар.

Осы пештердегі қыздырғыштардың жылу өнімділігі өзгерген кезде, шығарылған жылу ағындарының диаграммасы іс жүзінде өзгермейді, бірақ төрт радиациялық камераның әрқайсысында сіз осы радиациялық камераның экранындағы құбырлар бетінің жылу кернеуінің орташа мәнін сақтай аласыз.

Жану газдарын шығару-түтін құбыры мен газ жинағыш арқылы.

Төрт өлшемді пештерді өндіру қарастырылған.

Пештің жалпы көрінісі және іргетас болттарының орналасу жоспары 2.49 суреттерінде келтірілген.

 

көлденең орналасуы
тік орналасуы

 

1 – конвекция камерасы; 2 және 3 – шығару және қарау терезелері; 4 –радиантты катушка; 5 – футерлеу; 6 – корпус; 7 – қайталама ауаны жеткізуге арналған камера; 8 – рефлектор-дистрибьютордың футері; 9 – түтік; 10 – рефлектор-дистрибьютор;11 – оттық

 

2.49-сурет – Оттықтағы орталық призмасы бар құбырлы төрт камералы пеш, алаудың биіктігі бойынша ауаны дифференциалды жеткізу, бір қатарлы қабырға және екі қатарлы секциялық экрандар

 

д) Конвекцияның сақиналы камерасы, радиация және конвекция камераларындағы тік құбырлары бар цилиндрлік құбырлы пештер.

Пештер-конвекцияның сақиналы камерасы, кіріктірілген ауа жылытқышы және радиация және конвекция камераларындағы тік құбырлы катушкалар, тігінен жанатын жанармай.

Аралас типтегі қыздырғыштар пештің түбінде орналасқан.

Радиация камерасының қабырғаларында бір қатарлы немесе екі қатарлы қабырға экраны орнатылған. Конвективті катушка, сондай-ақ ауа жылытқышы секциялармен теріліп, цилиндрлік Радиант камерасына сәйкес орнатылған конвекцияның сақиналық камерасында орналасқан.

Жану газдарын шығару-түтін құбыры мен газ жинағыш арқылы.

Пештің жалпы көрінісі 2.50 суретте көрсетілген.

 

 

1 – жақтау; 2 – радиантты катушка; 3 – конвективті катушка; 4 – футерлеу; 5 – қыздырғыш; 6 – ауа жылытқышы

 

2.50-сурет – Конвекцияның сақиналы камерасы, радиация және конвекция камераларындағы тік құбырлары бар құбырлы бір камералы цилиндрлік пеш

 

Пештегі орталық призмасы бар төрт камералы пеш, алаудың биіктігі бойынша ауаны дифференциалды жеткізу, бір қатарлы қабырға және екі қатарлы камерааралық экрандар, экрандар мен конвекция құбырларының тік орналасуы,аралас отынды төсеу.

Пештің құрылымдық дизайны пешке орнатылған түтін құбырымен; бөлек тұрған түтін құбырымен болуы мүмкін.

Біріктірілген қыздырғыштар пештің түбінде орналасқан. Жанарғылардың осьтері пештің ортасына орнатылған бөлгіш-бөлгішке қарай еңкейтілген.

Бөлгіш пирамида түрінде жасалған, ол әр радиация камерасының қыздырғыштарына арналған еден қабырғалары болып табылады. Бөлгіш келесі функцияларды орындайды: Радиант камерасының көлемін Радиант катушкасының ұзындығы бойымен дифференциалды жылу беруді жүзеге асыруға мүмкіндік беретін төрт автономды жылу алмасу аймағына бөледі; бұл қыздырғыштардың алауының беті, олар бос шамдармен салыстырғанда тұрақты қалыңдығына ие, бұл құбыр экрандарын қыздырғыштарға жақындатуға және камераның көлемін азайтуға мүмкіндік береді.

Пеште отынды екі сатылы жағу жүзеге асырылады. Бастапқы ауа (көлемнің шамамен 70 %) қыздырғыштарға мәжбүрлі түрде беріледі, ал қалған мөлшері еденнің биіктігі бойынша беріледі, ол үшін тік бұрышты қиманың арналары екі қабатта бөлгіштің бүйірлерін төсеу кезінде, ал бөлгіштің жақтауында жеке каналдар орналасқан, олардың саны жиектер санынан екі есе көп. Әрбір түтік айналмалы шибермен жабдықталған. Екі сатылы жану алауды беттердің биіктігі бойымен созуға және Радиант құбырларының биіктігі бойынша сәулеленудің біркелкілігін арттыруға мүмкіндік береді.

Радиация камерасының қабырғаларында бір қатарлы қабырға экрандары, ал радиация камераларының арасында екі қатарлы радиалды экрандар бар.

Конвективті катушкалар, ауа жылытқышы сияқты, бөлімдерде теріліп, цилиндрлік Радиант камерасына сәйкес орналасқан конвекцияның сақиналық камерасына орналастырылады.

Жану газдарын шығару-түтін құбыры мен газ жинағыш арқылы.

Пештің жалпы көрінісі 2.51 суретте көрсетілген.

 

 

1 – желдеткіш; 2 – жақтау; 3 – түтін құбыры; 4 – ауа жылытқышы; 5 – конвективті катушка; 6 – радиантты катушка; 7 – төсеу

 

2.51-сурет – Оттықта орталық призмасы бар құбырлы төрт камералы пеш, алаудың биіктігі бойынша төсеніш алауы және дифференциалды ауа беру, бір қатарлы қабырға және екі қатарлы камерааралық экрандар