№ 8 Зертханалық жұмыс. Мұнай өнімдерінің ұшқын беру немесе тұтану температурасын анықтау

Жұмыстың мақсаты

Ашық тигель аспабымен мұнай өнімдерінің (мотор жағармайының) ұшқын беру немесе тұтану температурасын анықтау негізінде мотор жағармайының қасиеттерімен танысып, мотор майларының от ұшқынын бермеуін және басқада жанармайдың май құрамына енбеу жолдарын іздестіру.

Жұмыстың мазмұны

Жағармайлардың сапасына қойылатын талаптар. Жағар майларды өндіру жолдары. Тұтану температурасы. Тұтану температурасы неге байланысты өзгереді. Тотықтырушылық қасиеттері. Лактардың пайда болуы. Қышқылдануға қарсы қоспалар.Қозғалтқыш майларының түрлері.

Жұмыстың тапсырмасы:

1) Мотор жағармайының ұшқын беру немесе тұтану температурасын анықтау.

) Алынған мәліметтер негізінде мұнай өнімінің (мотор жағармайының) сапасын сипаттау және жағармай маркасын анықтау.

3) Прибордың схемасын салу.

4) Берілген жағармай үлгісінің автомобиль қозғалтқыштары үшін жарамдылығы жайлы қортынды жасау;       

5) Бақылау сұрақтарына жауап беру. 

Мотор майының ұшқын беру немесе тұтану температурасын өлшеу үшін алынған жабдықтар:

  • ТВО – ПХП аппараты;
  • термометр;
  • тигель;
  • тұтандырғыш қондырғы ;
  • құм моншасы;
  • қыздырғы;
  • шаблон;
  • мұнай өнімдерінің үлгілері.
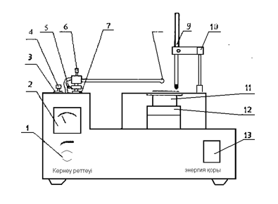
8.1-сурет – ТВО – ПХП аппаратының сыртқы көрінісі

ТВО-ПХП аппараты жартылай автоматталған. 8.1-суретінде көрсетілген. 4333 МЕСТ-на сәйкес мұнай өнімдерінің тұтану температураларын ашық тигельде анықталады.

1 - штатив; 2 - қыздырғыш (спирт шамы); 3 - термометр;4 - оттық; 5 - тигель; 6 - құм; 7 - құм салынатын ыдыс
8.2-сурет – Мотор майының тұтану температурасын анықтайтын аспаптың схемасы

Жұмыстың орындалу реті

Штативтің 1 сақиналы кронштейніне құм салынған ыдыс 7 бекітілген. Оған сыналатын мотор майы құйылған (ернеуіне 1 мм жетпейтіндей қылып, шаблон бойынша құяды) тигель 5 орналастырылады. Ыдыс тағы құмның деңгейі май деңгейінен жоғары болуы керек, ал тигель түбі мен құм салынған ыдыс түбі аралығында 5 - 8 мм қалындықта құм болуы қажет. Май ваннасының ортасына -тан 36 С-ге дейінгі шкаласы бар термометр тік күйінде орнатылады.

Тигель газды қыздырғышпен немесе ''Шмель'' примус атты қыздырғышымен минутына 1 0С жылдамдықпен қыздырылады. Күтілетін тұтану температурасының мәніне (жобамен  – 1 С) 4 0С қалғанда қыздыру жылдамдығы минутына 4 С дейін төмендетіледі.

Ал от алу температурасының күтілетін мәніне 1 0С қалғанда әр  0С сайын тигель жиегіне май бетінен 8 – 1 мм қашықтықта тұтатқыш құрал жақындатылады. Сыналатын мұнай өнімдерінің бетінде толықтай немесе бір бөлігінде анық көк түсті жалын білінгенде термометр көрсеткен температура от алу температурасы болып қабылданады.

Майдың от алу температурасын анықтағаннан кейінде оны сол жылдамдықта қыздыру жалғастырылады және температура әр  0С сайын тұтатқыш құрал жалынымен сынақ жалғастырылады.

Тұтатқыш құралды жалынымен жақындатқан кезде мұнай өнімі тұтанып, кем дегенде 5 с жанса, осы мезеттегі температура тұтану температурасы болып есептелінеді.

Тұтану температурасын анықтағаннан кейін қыздыру процесін жалғастырып мұнай өнімдерінің оталу температурасын анықтаймыз.

Ол температура тұтану температурасынан 15 – 25 ° жоғары болады.

Жалпы мәліметтер

Мұнай өнімінің тұтану температурасы деп белгілі бір белгіленген қатаң жағдайларға қыздырылатын мұнай өнімдерінің буы қоршаған ортаның ауасымен қоспа құрайды да, оған от жақындатқан кезде тұтанады да, кем дегенде 3 – 5 с уақытында жанатын температураны айтамыз.

Мұнай өнімдерінің бұл көрсеткіштері ең бастысы олардың өрт қауіпсіздіктерін бағалау үшін пайдаланылады. Дизель отынының тұтану температуралары қысқы түрлері үшін 35 °С, ал жазғы отындар үшін – 40 °С жоғары болмауы қажет, ал дизель моторларының майлары 200 – 205 °С, ал бензинді моторларының майлары үшін 200 – 220 °С жоғары болмауы тиіс. Мұнай өнімдерінің соның ішінде майлардың тұтану температуралары ашық тиглінде 4333 МЕСТ бойынша, ал дизель отының тұтану температурасы жабық тигльде анықталады.

Тұтану температурасы пайдаланылатын шикізат пен мұнай өнімдерінің сапасын сипаттайды, сыналатын мұнай өнімдерінің маркасын анықтауға қызмет етеді, олардың фракциялық құрамын сипаттайды, майларда жеңіл фракция бар жоғын көрсетеді.

Майларда жеңіл буланатын заттардың болуы (от алудың төмен температурасы) жоғары температуралар ауқымында жұмыс істегенде майдың бір сыпыра жоғалуының (майдың көп жанып кетуінің) себебі болып табылады. МЕСТ 35 - 2013 бойынша дизель отындары үшін тұтану температурасы 30 0-тан кем болмауы қажет. Егер ол 30 0-тан жоғары болса, онда дизельдің ''қатты'' істеуі күшейеді, отының буланып жоғалуы артады және оның өрт қауіпсіздігі жоғарлайды.

Майларда жеңіл буланатын заттардың болуы (от алудың төмен температурасы) жоғары температуралар ауқымында жұмыс істегенде майдың бір сыпыра жоғалуының (майдың көп жанып кетуінің) себебі болып табылады.

Есеп беру және жұмысты қортындау

Алынған тұтану температурасын МЕСТ көрсеткіштерімен салыстыра отырып сапасына баға бер. Берілген тапсырмаларға жауап жаз. 

Бақылау сұрақтары 

1. Тұтану температурасына анықтама бер?

2. Ашық тигельде тұтану температурасын анықтау технологиясына сипаттама бер?

3. Тұтану температурасын анықтайтын өзгеде тәсілдерін келтір?

4. Қысқы отындардың жазғы отындарға қарағанда ерекшіліктері неде және оларды жазғы мезгілде пайдалануға неге жарамсыз?

5. Майларда жеңіл буланатын заттардың пайда болуы немен байланысты?

6. Қолданудағы мотор майларының тұтану температуралары неге төмендейді?

7. Не себептен көбінесе ашық тигель аспабымен мотор жағармайының ұшқын беру немесе тұтану температурасы анықталады?

10. Жағармайлардың өндіру технологиясының негізін бер және сапа беретін компоненттерін қоспаларын мысал ретінде келтір.